友情链接
汽车级主动安全下放两轮!本田紧急闪避专利
2025/12/19 17:25:25
0浏览
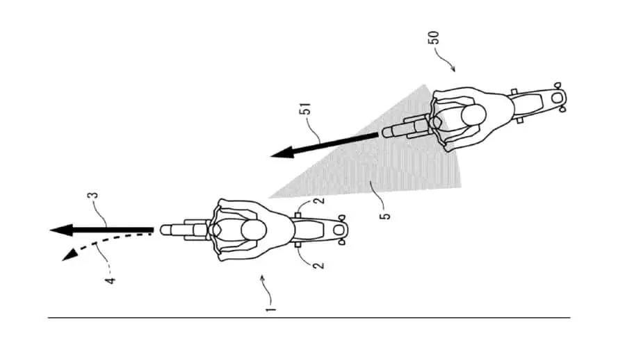
本田近期提交了一项全新专利,试图将汽车界的「主动安全防护」移植到两轮世界。 这项技术利用摄影机监控盲点,当侦测到后方有车辆逼近且具碰撞风险时,系统会通过制动器介入龙头转向,主动帮你闪避危险。 简单来说:这台车会在紧急时刻帮你转弯。

两轮版的紧急闪避辅助 这套系统的概念源自汽车的紧急转向辅助,但本田深知摩托车的动态比汽车复杂得多,龙头的转动直接牵动着平衡、倾角以及骑士的心理安定感。 因此,专利中特别强调了系统会侦测骑士当下的作状态:
骑士已有反应(如正在转向、刹车): 系统会判断你已察觉危险,此时会给予较强的转向辅助,加速闪避。
骑士无反应: 系统会判断你未察觉威胁,此时会以「渐进式」的方式增加转向扭力,避免龙头突然被扯动而吓到骑士造成失控。

当然,宝马、杜卡迪等大厂也都致力于雷达与辅助科技的研发,本田并非特例。这项专利最终是否会量产仍是未知数,即便推出,也多半会先应用在 本田金翼或非双等旗舰车上。


标签:
举报
全部评论.0
0/150
发布
按热度
按时间
暂无评论,快来抢沙发吧
热门视频











